language 中文简体 中文繁体 English 目录在线 目录下载 收藏三巨在线留言站点地图

雷竞技预测 雷竞技登录直播 专注如AC轴流风扇,DC直流散热风机生产
深圳工厂:0755-28035670业务专线:13603004952

dot雷竞技官方 - 32年散热风扇研发制造工厂

雷竞技线下活动

雷竞技Raybet·(中国区)官方网站

聚焦三巨,了解更多风扇知识

​一种电脑散热风扇组合机构

返回列表 发布日期: Mar 23, 2020

传统的电脑主要靠主电源中的排风扇来散热,电源接通后,排风扇即开始工作,通过主机箱上设置的通孔,将外部的空气吸进机箱,经由主板、硬盘、CPU、 光驱等,再进入主电源后由排风扇排出机箱外,虽然起到了散热效果,但空气中的尘螨极易吸入机箱中,驻留在各种电路板上,长年累月的积累,不但影响电路本身的散热,而且由于空气的潮湿,极易造成电路电极之间漏电,在高速运行时使电脑极易死机。特别是,现在CPU的运行速度越快,对散热效果的要求程度越高,原来仅靠主电源上的排风扇散热的方式也不能满足要求。

本文介绍一款可加速机箱内散热,次要目的是可对通过的空气进行过滤和杀菌的电脑散热风扇组合机构。

为达到上述目的,这种电脑散热风扇组合机构主要由电脑风扇和安装在电脑风扇进气口上的光触媒网组成。

散热风扇

光触媒网与电脑风扇进气口之间设有空气过滤网。

它还包括一用于放置电脑散热风扇的风扇机架,该风扇机架固定在电脑主机机壳上,电脑风扇可方便的安放在风扇机架内。

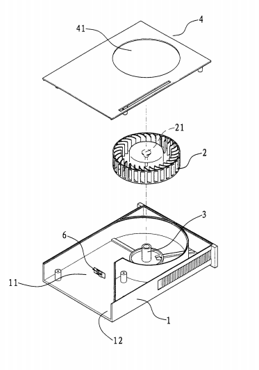
文本电脑散热风扇主要由盒状风扇本体、扇叶和扇叶固定支架组成;扇叶固定支架固接在风扇本体上,扇叶活动安装在扇叶固定支架上;盒状风扇本体的中空腔形成空气通道,在该空气通道的进气口上设有一光触媒网。

空气通道的任一位置设有可全面照射该光触媒网的一一个及一个以上的紫外线发光二极管。

在所述的盒状风扇本体上、与空气通道的进气口的对应的另一端设有一凸柱,该凸柱构成所述的扇叶固定支架;所述的扇叶呈蜗轮状,其中心孔套接在所述的凸柱上并可围绕该凸柱旋转,在风扇本体上、与扇叶对应处开设有与空气通道垂直的出气口。

本文还可以将习用的电脑风扇安装在一盒状带有进、出气口的风扇本体内,在该习用的电脑风扇与风扇本体的进气口之间形成空气通道,在所述的进气口上设有一空气过滤网。

空气通道的任一位置设有可全面照射该光触媒网的一个及一个以上的紫外线发光二极管。

盒状风扇本体内凸设有多个固定架,习用的电脑风扇固定在该多个固定架上;在风扇本体上、与习用的电脑风扇对应处开设有与空气通道垂直的出气口。

盒状风扇本体内凸设有安装紫外线发光二极管的固定架。

本文电脑风扇还可由盒盖、空气过滤网、连接框架、紫外线发光二极管、弓形支架、多个习用的电脑风扇和壳体组成。空气过滤网与光触媒网套置在盒盖内后再一起套置在连接框架内;紫外线发光二极管安装在弓形支架.上;弓形支架安装在多个习用的电脑风扇上;多个习用的电脑风扇套置在壳体内;连接框架通过螺钉固接在壳体上,使得置于连接框架内的空气过滤网与紫外线发光二极管相向设置且紫外线发光二极管可全面照射光触媒网。

多个习用的电脑风扇为三个并列设置的习用的电脑风扇组成。

壳体内还设有一接线盒,电线通过该接线盒连接习用的电脑风扇和紫外线发光二极管。

该电脑散热风扇组合机构具有以下优点:

1)加速空气在机箱内的循环,使散热加快;

2)改变了空气在机箱内的流通方向,从本实用新型的进气口进气,经机箱上的通孔出气,进气过程中经由过滤网过滤了空气中的尘螨,使灰尘难以沉积在机箱的电路板上;

3)通过使用了光触媒网和紫外二极体的照射,可以分解空气中有害气体:甲醛、甲苯、甲醇等;破坏细菌的细胞膜并进-步降解细胞内的有机物,使细菌细胞死亡;凝固病毒的蛋白质使之失去活性以达到破坏病毒的效果,对肺炎克雷伯氏菌、枯草芽胞杆菌、白色念珠菌、霉菌、金黄色葡萄球菌、大肠杆菌、乙肝病毒等细菌的杀死率达90%以上,因此在使用电脑的过程中还可以清新空气,提高了生活品质。由于本实用新型可拆卸下来单独在汽车或卧室等环境使用,不需要另外购买空气清新机,减少占地,美化了环境。



关闭

微信公众号

咨询热线
+86-755-2803-5670
在线客服
top
Baidu
map