language 中文简体 中文繁体 English 目录在线 目录下载 收藏三巨在线留言站点地图

雷竞技预测 雷竞技登录直播 专注如AC轴流风扇,DC直流散热风机生产
深圳工厂:0755-28035670业务专线:13603004952

dot雷竞技官方 - 32年散热风扇研发制造工厂

雷竞技线下活动

雷竞技Raybet·(中国区)官方网站

聚焦三巨,了解更多风扇知识

​一种散热效果较佳的的电脑显示器的散热风扇结构

返回列表 发布日期: Aug 22, 2019

本文涉及一种电脑显示器内建式散热风扇,尤指一种散热效果较佳的的电脑显示器的散热风扇结构。

已知电脑显示器的壳体上均设有网状的散热孔,可藉空气对流来协助散热,该散热孔是设于壳体顶侧或后侧等处。由于电脑显示器的壳体内部设有冷阴极线(CRT)电子枪等发热元件,仅利用散热孔的空气对流来协助散热,已不敷所需,因此电脑显示器的壳体及内部经常维持在高温状态,容易伤害电脑显示器内无耐高温特性的零组件,使得使用寿命降低,且严重影响操作稳定性。

本文的目的在于克服现有结构存在的散热效果差,影响电脑显示器的使用寿命等缺点进一步提供-种电脑显示器内建式散热风扇。

本文的目的是这样实现的:

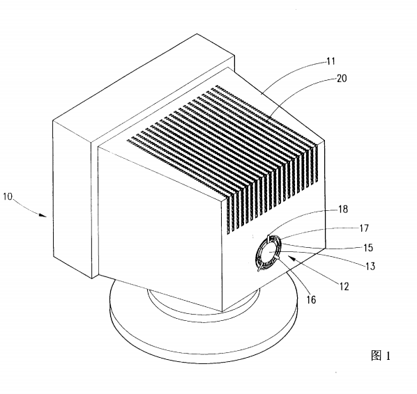
一种电脑显示器内建式散热风扇,其特征是在电脑显示器的壳体上设有一组装孔,孔内装有风扇,且风扇为轴流式风扇。

散热风扇

本文的目的还可以由以下技术措施来进一步实现:

前述的风扇,为由一风扇座及一扇叶体所构成,该风叶体装在风扇座上,风叶座上设有通风口。

前述的风扇,风扇座周边设有多个凸耳,而组装孔周边设有多个凹槽,风扇的风扇座配装于组装孔中,且令风扇座的凸耳配合于组装孔周边的凹槽中,并藉超声波接合,使风扇座固定于组装孔中。

前述的风扇,组装孔可设于壳体后侧或两侧上方。

前述的风扇,组装孔周边向内延伸形成一中空管状的导风罩。

前述的风扇,风扇座上设有多个通孔,组装孔外围设有多个螺孔,藉多个螺钉贯穿于风扇座上的通孔中,并紧固在组装中外围的螺孔中。

前述的风扇可以超音波接合、螺钉固定或以嵌入方式固定于组装孔中。本文的优点,由于在电脑显示器的壳体上设有组装孔,该组装孔装设有散热风扇,当散热风扇被驱动运转,电脑显示器内部的高温可被排出,降低了电脑显示器的壳体及内部的温度,避免了高温伤害电脑显示器内无耐高温特性的元器件,进而使电脑显示器的使用寿命增加,且提高了操作的稳定性。



关闭

微信公众号

咨询热线
+86-755-2803-5670
在线客服
top
Baidu
map