language 中文简体 中文繁体 English 目录在线 目录下载 收藏三巨在线留言站点地图

雷竞技预测 雷竞技登录直播 专注如AC轴流风扇,DC直流散热风机生产
深圳工厂:0755-28035670业务专线:13603004952

dot雷竞技官方 - 32年散热风扇研发制造工厂

雷竞技线下活动

雷竞技Raybet·(中国区)官方网站

聚焦三巨,了解更多风扇知识

​散热风扇型笔记本电脑

返回列表 发布日期: Sep 19, 2019

本文介绍一种特殊的笔记本电脑。为什么特殊呢?因为市场上的笔记本电脑都没有自带散热风扇,如果夏天在没有散热风扇、空调的地方使用笔记本电脑,比较闷热,让人感到不舒服。

发明内容

为了克服现有的笔记本电脑没有自带散热风扇,如果夏天在没有散热风扇、空调的地方使用笔记本电脑,比较闷热,让人感到不舒服的不足,本文提供一种散热风扇型笔记本电脑,该散热风扇型笔记本电脑自带散热风扇,夏天在没有散热风扇、空调的地方使用笔记本电脑时,可以打开笔记本电脑自带的散热风扇吹风,比较凉快,让人感到舒服。

散热风扇

本文解决其技术问题所采用的技术方案是,一种散热风扇型笔记本电脑,包括笔记本电脑主体和显示屏,显示屏边框上设置有散热风扇。

由于该散热风扇型笔记本电脑包括笔记本电脑主体和显示屏,显示屏边框上设置有散热风扇。因此,夏天在没有散热风扇、空调的地方使用笔记本电脑时,可以打开笔记本电脑自带的散热风扇吹风,比较凉快,让人感到舒服。

附图说明

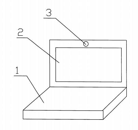
图1是实施例散热风扇型笔记本电脑的结构图。

具体实施方式

如图1所示,一种散热风扇型笔记本电脑,包括笔记本电脑主体1和显示屏2,显示屏2边框上设置有散热风扇3。因此,夏天在没有散热风扇、空调的地方使用笔记本电脑时,可以打开笔记本电脑自带的散热风扇3吹风,比较凉快,让人感到舒服。



关闭

微信公众号

咨询热线
+86-755-2803-5670
在线客服
top
Baidu
map