一种便携式风扇型笔记本电脑供电装置,含有安装电脑散热风扇的散热座…
Sep 09, 2019本文涉及降低电脑机箱内温度的装置,特别是一种电脑机箱用的电脑散热风扇装置。 …
Sep 09, 2019
本文涉及一种电脑CPU散热风扇,特别是涉及一种导风罩式电脑CPU散热风扇。 …
Sep 04, 2019
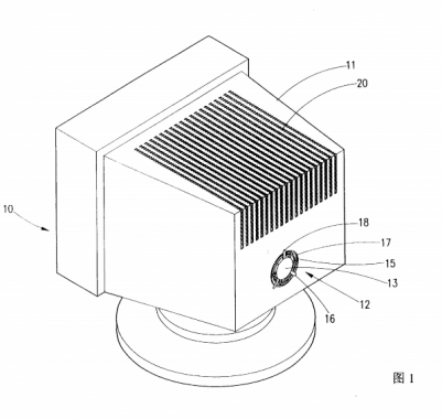
本文涉及一种电脑显示器内建式散热风扇,尤指一种散热效果较佳的的电脑显示器的散热风扇结构。…
Aug 22, 2019
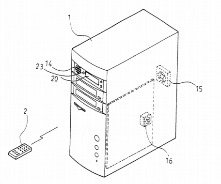
本文涉及电脑主机的散热风扇,尤指一种可由外部遥控且能依据不同温度的变化自动调控风扇转速的电脑主机的遥控散热风扇。…
Aug 12, 2019
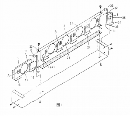
本文提供一种散热风扇固定装置,特别是指一种电脑主机的散热风扇固定装置。…
Aug 07, 2019
本文涉及一种电脑散热风扇的导流装置,尤其是这样一种笔记本型电脑散热风扇的导流装置…
Jul 31, 2019
以往笔记型电脑 散热风扇 配置装置有下列的缺点 (1)散热风扇的垂直回流 (2)容易产生较大噪音——风源的回流与散热扇叶形成干扰,容易造成较大的噪音。 (3)散热风扇的寿命减短, 本设…
Jul 31, 2019